Grindă de ridicare tip PRO-HLC
Descriere
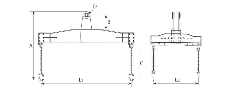
Grinda ridicare este construită din profile tip „I“, prevăzute la capete cu ochiuri, de care se ataşează sisteme de lanţ cu ocheţi şi chei de tachelaj.
Lăţimea este ajustabilă în funcţie de necesităţile utilizatorului. Dimensiunile din tabel sunt informative, grinda putând fi confecţionată conform solicitării clientului.




