Clește orizontal pentru tablă tip PRO-DF
Clește orizontal pentru manipularea și transportul foilor (plăcilor) de tablă
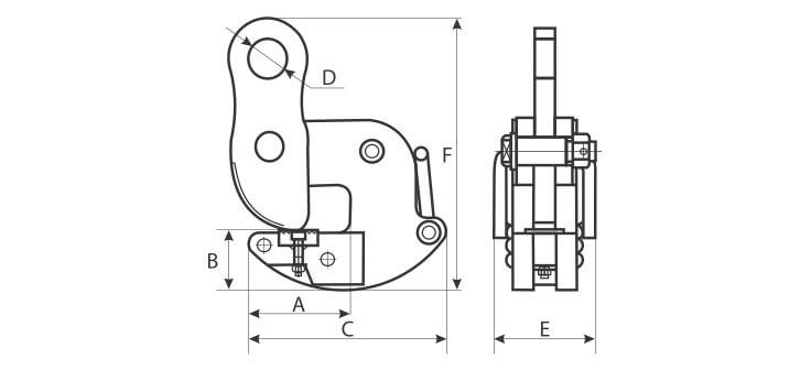
Pentru toți clești care se folosesc în pereche, foarte important este unghiul format de brațele de ridicare ale sistemului de lanț. Pentru acest model, sarcina maximă de lucru este atinsă atunci când ridicarea se face cu un sistem de lanț ale cărui brațe formează un unghi de maxim 60 grade.

Totodată, importantă este și fixarea corectă a cleștelui (ideal perpendicular pe foaia de tablă).
Se mai pot întâlni sub denumirea de gafe, gură de lup sau pisici de ridicare.




